| নং | শিরোনাম | সেবার ধাপ | কার্যকলাপ |
|---|---|---|---|
| | |||
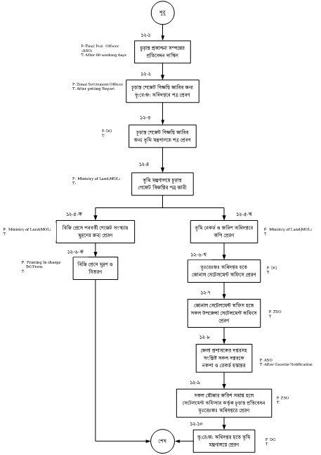
| ১ | চূড়ান্ত গেজেট ও হস্তান্তর | দেখুন | |
| ২ | চূড়ান্ত রেকর্ড হস্তান্তর | দেখুন | |
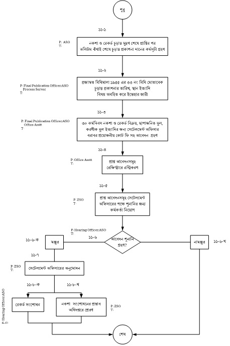
| ৩ | চূড়ান্ত প্রকাশনা | দেখুন | |
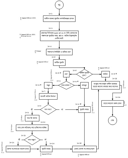
| ৪ | আপীল মামলা শুনানি | দেখুন | |
| ৫ | আপত্তি মামলা শুনানি: | দেখুন | |
| ৬ | খসড়া প্রকাশনা ও আপত্তি মামলা দায়ের: | দেখুন | |
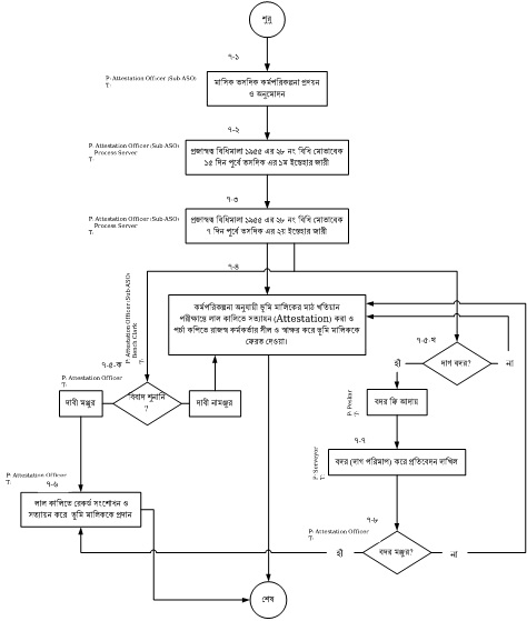
| ৭ | তসদিক: (এটেস্টেশন) | দেখুন | |
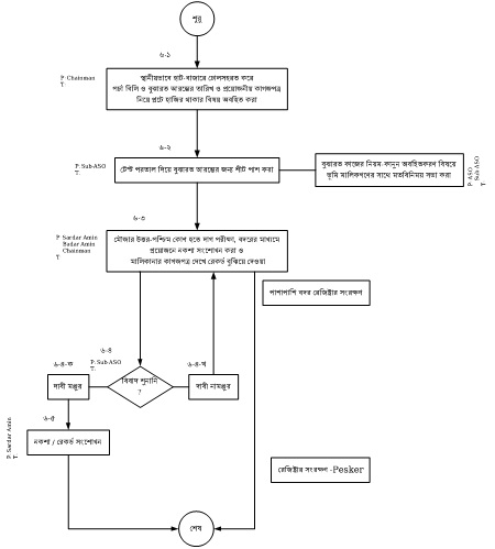
| ৮ | বুঝারত | দেখুন | |
| ৯ | রেকর্ড প্রস্তুতি: (খানাপুরী) | দেখুন | |
| ১০ | নকশা প্রস্তুতি: | দেখুন |